苹果新专利 通过图像投影仪将AR扩展到现实世界
苹果公司可能正在规划这样一个未来:我们不再需要屏幕或 Apple Vision Pro 来完成工作,也不再需要与 AR 进行交互。早在 Mac 诞生之初,我们就面临着一个问题,那就是如何培训用户在移动鼠标时,光标会在屏幕上移动。虽然我们现在都已经习惯了,但这在当时却是一个全新的概念飞跃。

多年后的今天,苹果公司仍在关注物理现实与计算之间的分离。
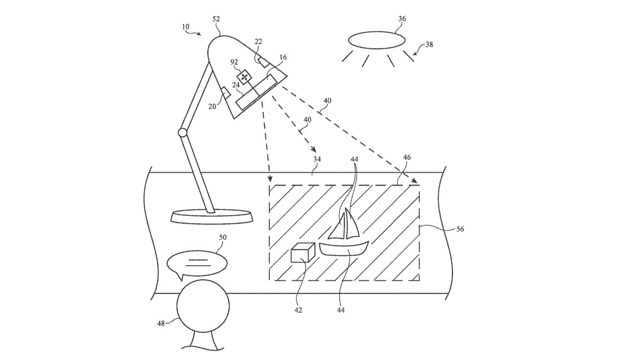
苹果公司在新获得的专利”带投影仪的电子设备”中表示:”与显示的图像互动,如果与现实世界的物体没有任何联系,可能会让用户感觉脱离了用户的现实世界环境。”
该专利读起来好像只是一套专利中的一部分,而这一部分实际上是在执着于如何让投影仪在物体周围产生看起来真实的阴影。”[一个]或多个图像投影仪,例如将图像投射到表面的投影仪”,这大概是唯一提到投影仪除了显示阴影之外还能显示什么的地方。
“电子设备可以包括一个投影仪,用于在表面上产生动画阴影的外观,”它说。”动画阴影可以通过向表面投射与周围环境光相匹配的照明来创建。可以关闭投影仪中的部分像素’,从而在周围照明区域内形成一个或多个未照明区域。”
因此,该专利的大部分内容似乎都是关于通过关闭 Mac 或其他设备投射物体旁边的像素来计算逼真的阴影。当传感器检测到”表面附近的手部动作、表面上物体的手部动作、阴影附近的手部动作等)”时,也有可能产生阴影。
阅读这项长达 18 页、包含 20 项权利要求和 8 幅插图的专利,很难不让人联想到《星球大战》中的怪兽棋局。不过,该专利并不涉及投影的内容,也不涉及这种投影的用途。
它非常关注的是实际投射的内容。苹果公司在专利中直接列出了 30 多种可能的设备,其中既有显而易见的设备,如 Apple Vision Pro,也有不太明显的设备,如办公桌。这显然是苹果公司做了所有专利撰写人都会做的事,提出了一个足够具体的专利方案,但又足够宽泛,可以涵盖尽可能多的可能实现方式。
因此,投影仪的想法很有可能真的是用于”笔记本电脑、电脑显示器……、平板电脑、移动电话、媒体播放器……[或]更小的设备,例如……”。[或]更小的设备,如腕表设备”。然而,在众多其他选项中,还提到了”挂件设备……游戏设备、导航设备……声控互联网连接扬声器……或嵌入灯具、桌椅、书桌、其他家具中的设备”,还提到了”安装在信息亭或汽车中”的投影显示屏,甚至是遥控器。
所列出的应用范围如此之广–名称虽多,但细节却很少–很难说清这其中会产生什么样的产品(如果有的话)。
不过,如果应用和设计难以理解,其意图还是非常明显的。苹果公司在专利的开头写道:”计算机和其他电子设备有时可能包括显示器。显示器可以向用户呈现图像。使用触摸感应显示屏,用户可以通过在显示屏上提供触摸输入来与图像进行交互,传统显示屏可能会受到限制”。
说得更明白的是:”[例如]用户可能希望除了与显示屏上的图像进行交互之外,还能与用户环境中的真实世界物体进行交互,或者以这种方式代替交互”。
这都是为了让人们能够在不需要使用屏幕的情况下工作,并与计算机生成的元素进行自然交互。
这项专利的发明者是克里斯托弗-J-韦尔普莱特斯和克拉克-D-德拉-席尔瓦。这似乎是他们为苹果公司申请的第一项专利,但 Verplaetse 之前曾获得过一项有关”手持设备基于运动的输入系统”的专利。

